
What Are ISO 1234 Cotter Pins?
ISO 1234 split pins (or “spring pins” or “ cotter pins”) are made from bent metal wire, forming a pin structure with a forked end. During installation, the split pin is inserted through a pre-drilled hole, and the forked end is bent open to securely fix it in the hole, thereby preventing nuts, bolts, or other fasteners from accidentally loosening or falling off.
Characteristics
- Quick and easy installation without special tools
- Reliable anti-loosening performance
- Reusable in certain applications
- Cost-effective locking solution
- Suitable for high vibration environments
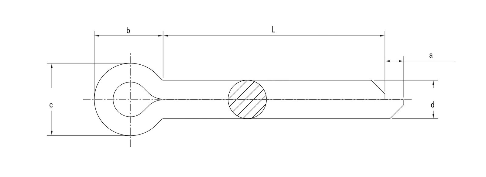
ISO 1234 Dimensions & Size Chart
Equivalent standards: DIN 94; GB/T 91; CSN 021781; PN 82001; UNI 1336; NF E25-774.
| size (mm) | d max | d min | a max | a min | c max | c min |
|---|---|---|---|---|---|---|
| Φ0.6 | 0.5 | 0.4 | 1.6 | 0.8 | 1.0 | 0.9 |
| Φ0.8 | 0.7 | 0.6 | 1.6 | 0.8 | 1.4 | 1.2 |
| Φ1 | 0.9 | 0.8 | 1.6 | 0.8 | 1.8 | 1.6 |
| Φ1.2 | 1.0 | 0.9 | 2.5 | 1.25 | 2.0 | 1.7 |
| Φ1.6 | 1.4 | 1.3 | 2.5 | 1.25 | 2.8 | 2.4 |
| Φ2 | 1.8 | 1.7 | 2.5 | 1.25 | 3.6 | 3.2 |
| Φ2.5 | 2.3 | 2.1 | 2.5 | 1.25 | 4.6 | 4.0 |
| Φ3.2 | 2.9 | 2.7 | 3.2 | 1.6 | 5.8 | 5.1 |
| Φ4 | 3.7 | 3.5 | 4.0 | 2.0 | 7.4 | 6.5 |
| Φ5 | 4.6 | 4.4 | 4.0 | 2.0 | 9.2 | 8.0 |
| Φ6.3 | 5.9 | 5.7 | 4.0 | 2.0 | 11.8 | 10.3 |
| Φ8 | 7.5 | 7.3 | 4.0 | 2.0 | 15.0 | 13.1 |
| Φ10 | 9.5 | 9.3 | 6.3 | 3.15 | 19.0 | 16.6 |
| Φ13 | 12.4 | 12.1 | 6.3 | 3.15 | 24.8 | 21.7 |
| Φ16 | 15.4 | 15.1 | 6.3 | 3.15 | 30.8 | 27.0 |
| Φ20 | 19.3 | 19.0 | 6.3 | 3.15 | 38.5 | 33.8 |
ISO 1234 Cotter Pins Suppliers
Advantages:
✔ Full size range available (standard & custom)
✔ Materials: carbon steel, stainless steel, brass
✔ Advanced surface treatment options
✔ Strict quality control (ISO-certified production)
✔ OEM & custom packaging support
✔ Fast delivery & global export experience
Get a Quote for ISO 1234 Cotter Pins
Looking for a reliable ISO 1234 cotter pin manufacturer?
👉 Contact us today for: Fast quotation, Free samples, Technical support, Bulk pricing.
We are your trusted partner for high-quality fastening solutions.
Applications of ISO 1234 Cotter Pins
- Automotive assemblies (wheel hubs, brake systems)
- Construction machinery
- Railway systems
- Agricultural equipment
- Marine and offshore equipment
- Industrial machinery
Related Products
View Other Standards
GB Standard
GOST Standard
NF Standard
KS Standard
