
DIN 914 metric hexagon socket cone-point set screws are fully threaded fasteners featuring an internal hexagon drive hole at one end and a cone point at the other. The cone point can embed into the workpiece surface during tightening, providing secure positioning and anti-loosening effects, making them suitable for applications requiring high holding force or preventing axial movement of parts.
Beyond Fastener offers a comprehensive range of metric set screws and various imperial and metric industrial fasteners in stock. DIN 914 hex socket cone-point set screws are available in diameters from M3 to M16, with lengths ranging from 3 to 60 millimeters, and are made from materials such as carbon steel and stainless steel 304/316, with immediate availability for shipment.
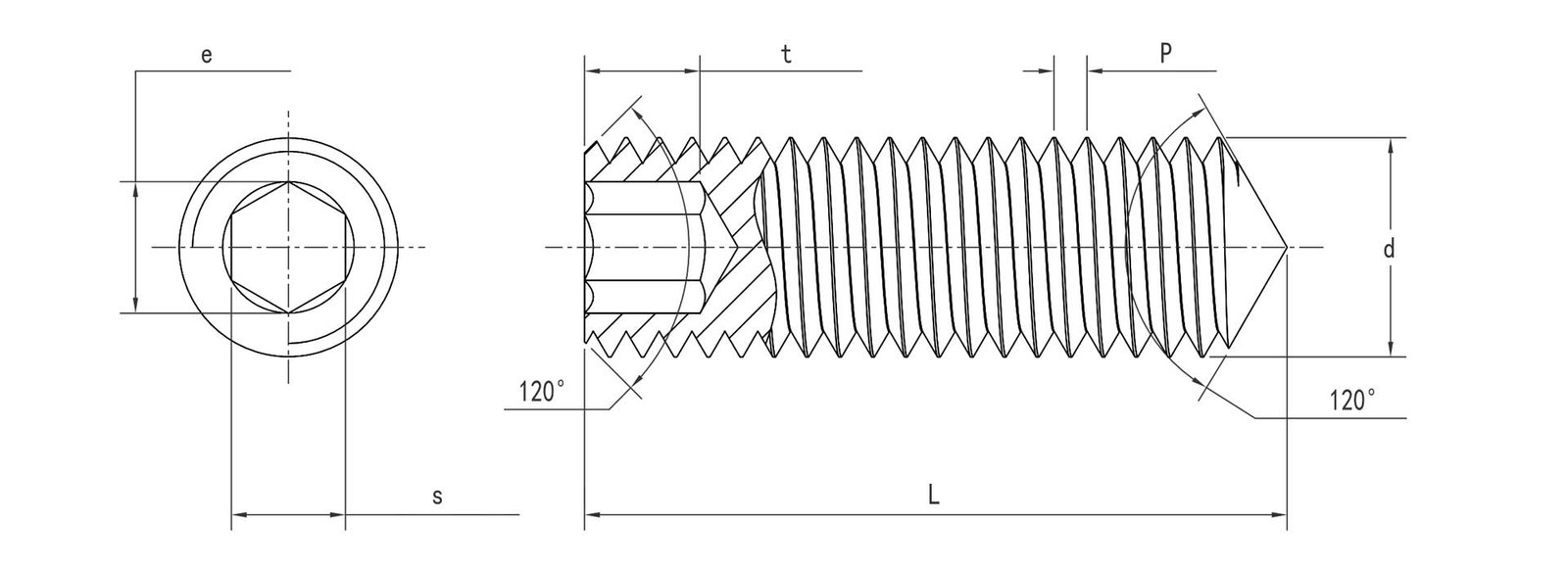
DIN 914 Specifications
Equivalent standards: ISO 4027; GB 778; CSN 021191; PN 82315; UNI 5927; EU 24027; GOST 8878; JIS B1177-2, NF E25-172.
| mm | P | e min | s min | s max | t min |
|---|---|---|---|---|---|
| M1.4 | 0.3 | 0.803 | 0.711 | 0.724 | 0.6 |
| M1.6 | 0.35 | 0.803 | 0.711 | 0.724 | 0.7 |
| M1.8 | 0.35 | 0.803 | 0.711 | 0.724 | 0.8 |
| M2 | 0.4 | 1.003 | 0.889 | 0.902 | 0.8 |
| M2.5 | 0.45 | 1.427 | 1.270 | 1.295 | 1.2 |
| M3 | 0.5 | 1.730 | 1.520 | 1.545 | 1.2 |
| M4 | 0.7 | 2.300 | 2.020 | 2.045 | 1.5 |
| M5 | 0.8 | 2.870 | 2.520 | 2.560 | 2.0 |
| M6 | 1.0 | 3.440 | 3.020 | 3.080 | 2.0 |
| M8 | 1.25 | 4.580 | 4.020 | 4.095 | 3.0 |
| M10 | 1.5 | 5.720 | 5.020 | 5.095 | 4.0 |
| M12 | 1.75 | 6.860 | 6.020 | 6.095 | 4.5 |
| M14 | 2.0 | 6.860 | 6.020 | 6.095 | 5.6 |
| M16 | 2.0 | 9.150 | 8.025 | 8.115 | 6.4 |
| M18 | 2.5 | 11.430 | 10.025 | 10.115 | 7.2 |
| M20 | 2.5 | 11.430 | 10.025 | 10.115 | 8.0 |
| M22 | 2.5 | 13.720 | 12.032 | 12.142 | 9.0 |
| M24 | 3.0 | 13.720 | 12.032 | 12.142 | 10.0 |
Related Products
View Other Standards
GB Standard
GOST Standard
NF Standard
KS Standard
